本实用新型公开一种排采井内管柱,包括气锚、潜油泵体、油管、拉油杆、导向器,所述气锚装配连接在潜油泵体的下方进口端,所述潜油泵体的上端与油管相连,所述油管内设有拉油杆,所述拉油杆的下端与潜油泵体内的螺杆转子的端部传动连接,所述拉油杆设有多段且多段之间连接有导向器,所述拉油杆的上端与螺杆潜油泵地面驱动单元传动连接。本实用新型结构简单,泵效高,节能且成本低;能够阻挡外部沙粒进入内部,能够防止堵塞。
1.一种排采井内管柱,其特征在于:包括气锚、潜油泵体、油管、拉油杆、导向器,所述气锚装配连接在潜油泵体的下方进口端,所述潜油泵体的上端与油管相连,所述油管内设有拉油杆,所述拉油杆的下端与潜油泵体内的螺杆转子的端部传动连接,所述拉油杆设有多段且多段之间连接有导向器,所述拉油杆的上端与螺杆潜油泵地面驱动单元传动连接。
2.如权利要求1所述的一种排采井内管柱,其特征在于:所述气锚包括锚体,所述锚体为圆柱筒形,所述锚体的侧板上设有多个贯通的吸入口,所述锚体内设有阻隔筒,所述阻隔筒的上端固定在锚体的侧壁上,所述阻隔筒的中部设有上下贯通的通孔,所述阻隔筒的下端高度低于吸入口,述阻隔筒外侧与吸入口之间形成阻隔空腔;所述锚体的下端密封连接有丝堵。
3.如权利要求2所述的一种排采井内管柱,其特征在于:所述丝堵的外侧为锥形。
4.如权利要求1所述的一种排采井内管柱,其特征在于:所述潜油泵体包括筒体,所述筒体的上端设有出液接头,所述筒体的内部固定有螺杆泵定子,所述螺杆泵定子的内腔中套装有螺杆泵转子,所述螺杆泵定子的下端连接有进液过滤套,所述进液过滤套的侧壁上设有与筒体下端的敞口连通的进液孔,所述筒体的下端与气锚的上端相连。
5.如权利要求1所述的一种排采井内管柱,其特征在于:所述油管外壁上设有电子压力计,所述电子压力计设置在靠近潜油泵体的一端,所述电子压力计通过电缆与外壁控制系统电信号连接。
6.如权利要求5所述的一种排采井内管柱,其特征在于:所述油管外壁上设有便于保护电子压力计上连接电缆的电缆保护器。
一种排采井内管柱 技术领域
[0001] 本实用新型涉及煤层气开采技术领域,具体涉及一种煤层气拍排采井内管柱。 背景技术[0002] 煤层气是指储存在煤层中以甲烷为主要成分、以吸附在煤基质颗粒表面为主、部分游离于煤孔隙中或溶解于煤层水中的烃类气体,是煤的伴生矿产资源,属非常规天然气,是近一二十年在国际上崛起的洁净、优质能源和化工原料。俗称“瓦斯” ,热值是通用煤的2-5倍,1立方米纯煤层气的热值相当于1.13kg汽油、1.21kg标准煤,其热值与天然气相当,可以与天然气混输混用,而且燃烧后很洁净。在采煤之前如果先开采煤层气,煤矿瓦斯爆炸率将降低70%到85%。
[0003] 煤层气排采系排水采气的简称,即利用机械举升设备将井筒内的水举升到地面,逐步降低井底流压。随着井底流压降低,逐渐形成压降漏斗并逐步向外扩展,进而逐步降低煤层的储层压力,迫使吸附在煤基质孔隙内表面的煤层气被解吸,然后通过基质孔隙的非达西渗流和扩散到天然裂隙,煤层气再从裂隙中渗流到井筒,从而被采出。现有的井内排采管柱,排采过程中排采效率低,且容易堵塞。 实用新型内容
[0004] 本实用新型的目的是解决上述的不足,提供一种排采井内管柱。
[0005] 为实现上述目的,本实用新型的技术解决方案是:一种排采井内管柱,包括气锚、潜油泵体、油管、拉油杆、导向器,所述气锚装配连接在潜油泵体的下方进口端,所述潜油泵体的上端与油管相连,所述油管内设有拉油杆,所述拉油杆的下端与潜油泵体内的螺杆转子的端部传动连接,所述拉油杆设有多段且多段之间连接有导向器,所述拉油杆的上端与螺杆潜油泵地面驱动单元传动连接。
[0006] 进一步的,所述气锚包括锚体,所述锚体为圆柱筒形,所述锚体的侧板上设有多个贯通的吸入口,所述锚体内设有阻隔筒,所述阻隔筒的上端固定在锚体的侧壁上,所述阻隔筒的中部设有上下贯通的通孔,所述阻隔筒的下端高度低于吸入口,所述阻隔筒外侧与吸入口之间形成阻隔空腔;所述锚体的下端密封连接有丝堵。
[0007] 进一步的,所述丝堵的外侧为锥形。
[0008] 进一步的,所述潜油泵体包括筒体,所述筒体的上端设有出液接头,所述筒体的内部固定有螺杆泵定子,所述螺杆泵定子的内腔中套装有螺杆泵转子,所述螺杆泵定子的下端连接有进液过滤套,所述进液过滤套的侧壁上设有与筒体下端的敞口连通的进液孔,所述筒体的下端与气锚的上端相连。
[0009] 进一步的,所述油管外壁上设有电子压力计,所述电子压力计设置在靠近潜油泵体的一端,所述电子压力计通过电缆与外壁控制系统电信号连接。
[0010] 进一步的,所述油管外壁上设有便于保护电子压力计上连接电缆的电缆保护器。
[0011] 本实用新型结构简单,泵效高,节能且成本低;能够阻挡外部沙粒进入内部,能够防止堵塞。
附图说明
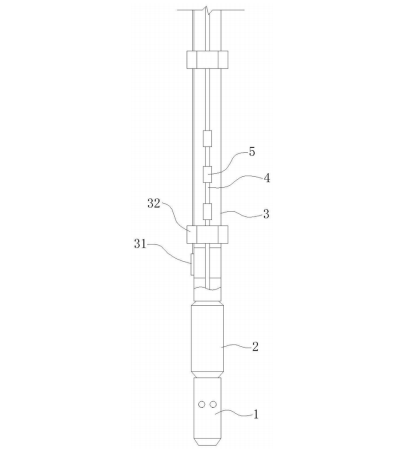
[0012] 图1为本实用新型的结构示意图。
[0013] 图2为本实用新型中的气锚与潜油泵体的结构示意图。
[0014] 图中:1-气锚,2-潜油泵体,3-油管,4-拉油杆,5-导向器,11-锚体,111-吸入口,12-阻隔筒,121-通孔,13-丝堵,21-筒体,211-出液接头,22-螺杆泵定子,23-螺杆泵转子,
24-进液过滤套。 具体实施方式
[0015] 下面将结合本实用新型实施例中的附图,对本实用新型实施例中的技术方案进行清楚、完整地描述,显然,所描述的实施例仅仅是本实用新型一部分实施例,而不是全部的实施例。基于本实用新型中的实施例,本领域普通技术人员在没有做出创造性劳动前提下所获得的所有其他实施例,都属于本实用新型保护的范围。
[0016] 如图1及图2所示,一种排采井内管柱,包括气锚1、潜油泵体2、油管3、拉油杆4、导向器5,所述气锚1装配连接在潜油泵体2的下方进口端,所述潜油泵体2上端与油管3相连,所述油管3内设有拉油杆4,所述拉油杆4的下端与潜油泵体2内的螺杆转子21的端部传动连接,所述拉油杆4设有多段且多段之间连接有导向器5,所述拉油杆4的上端与螺杆潜油泵地面驱动单元传动连接,所述拉油杆4传动驱动潜油泵体2将下端介质泵出。
[0017] 具体的,所述气锚1包括锚体11,所述锚体11为圆柱筒形,所述锚体11的侧板上设有多个贯通的吸入口111,所述锚体11内设有阻隔筒12,所述阻隔筒12的上端固定在锚体11的侧壁上,所述阻隔筒12的中部设有上下贯通的通孔121,所述阻隔筒12的下端高度低于吸入口111,所述阻隔筒12外侧与吸入口111之间形成阻隔空腔;所述锚体11的下端密封连接有丝堵13。
[0018] 具体的,所述丝堵13的外侧为锥形。
[0019] 具体的,所述潜油泵体2包括筒体21,所述筒体21的上端设有出液接头211

转自《中华人民共和国国家知识产权局》
电话:18911695830 邮箱:18911695830@163.com
地址:北京市昌平区科技园区超前路37号 版权所有:北京耐隆工业制造有限公司 备案号:京ICP备2025149150号-1
京公网安备11010502057752号